產品導航
Product navigation
當前位置:首頁 > 技術資料 > 礦井提升機盤形閘活塞拆裝裝置設計技術圖解
礦井提升機盤形閘活塞拆裝裝置設計技術圖解
發布人:新鄉天太斗式提升機廠家 發布時間:2019-10-26
背景技術:
本技術涉及提升機設備拆裝技術領域,尤其涉及一種礦井提升機盤形閘活塞拆裝裝置。目前,大多煤礦主副井提升系統的提升機的液壓制動系統采用的是盤形閘。該盤形閘一般包括活塞、設置在活塞內部的碟形簧、閘襯和閘盤,該盤形閘的工作原理是通過對盤形閘的活塞的內部的碟形簧進行擠壓產生的壓力作用于活塞,通過活塞將壓力傳遞至閘襯,依靠閘襯壓迫閘盤,進而增大閘盤的摩擦力,達到對提升機抱閘的目的,通過液壓抵消碟形簧的擠壓力進行松閘,實現開車。由于盤形閘內部的碟形簧反復壓縮的使用頻率較多,為了保證生產正常運行,需要定期對活塞內部的碟形簧進行檢查和更換,并且加注二硫化鉬潤滑脂。
如圖1所示,盤形閘的活塞一般包括存放碟形簧4的本體2、端蓋3和具有螺紋端6及限位端7的調節螺釘5,該本體2包括封閉側和開口側,端蓋3與開口側滑動配合,碟形簧4的一端與封閉側抵接,碟形簧4的另一端與端蓋3抵接,且本體2的內部靠近封閉側設置有與調節螺釘的螺紋端6配合的內螺紋,調節螺釘5穿過端蓋3,通過調節螺釘的限位端7對端蓋的位置進行限位。
端蓋一般通過外螺紋固定在閘座上,因此盤形閘的拆卸過程,一般為首先對液壓系統停泵卸荷,關閉通向所調閘的進油管,通過打壓泵打壓至相應壓力(一般為16MPa),使得閘襯離開閘盤,通過擰緊調節螺釘,使端蓋與活塞通過調節螺釘連接在一起,形成一個整體,泄壓,通過專用扳手轉動端蓋,將端蓋連同活塞本體一同卸下,此時調節螺釘的螺紋端和活塞的內螺紋之間的壓力與碟形簧由于壓縮產生的壓力相當,一般為15.5MPa。然后,需要三名熟練的機修工采用專用扳手固定端蓋,使用鋼管延長調節螺釘的力矩,人為的克服調節螺釘與活塞的摩擦力將其取下,裝卸耗時接近一小時,這種作業方式耗時,費力,用力過猛易發生危險,經常會出現卸開的活塞由于沒有將碟形簧擠壓到位無法通過調節螺釘將端蓋擰緊的情況,嚴重影響作業人員的人身安全及礦井提升設備的正常運行,因此目前的礦井提升機盤形閘的活塞的拆裝存在工作效率低和安全隱患的問題。
綜上所述,如何解決礦井提升機盤形閘的活塞的拆裝的工作效率低和安全隱患的問題,已成為本領域技術人員亟待解決的技術難題。
技術實現要素:
本技術的目的是提供一種礦井提升機盤形閘活塞拆裝裝置,以提高工作效率,并避免安全隱患。為了實現上述目的,本技術提供了一種礦井提升機盤形閘活塞拆裝裝置,包括放置架和升降裝置,所述放置架包括間隔設置的限位層和放置層,所述限位層上開設有凹口,所述放置層上設置有通孔,所述升降裝置的頂軸能夠穿過所述通孔。
優選地,所述升降裝置為千斤頂。
優選地,所述千斤頂為10噸液壓千斤頂。
優選地,所述千斤頂為機械千斤頂。
優選地,所述機械千斤頂的伸縮桿行程為10cm-25cm。
優選地,所述放置架的骨架為由槽鋼焊接而成的骨架。
優選地,所述放置架的放置層和限位層均為16mm的鋼板。
優選地,所述放置架的底部設置有滾輪。
優選地,所述滾輪的數量為4個。
優選地,位于所述放置架的前側的所述滾輪為萬向輪,位于所述放置架的后側的所述滾輪為定向輪。
相比于背景技術介紹內容,上述礦井提升機盤形閘活塞拆裝裝置,通過將預拆裝的活塞放置在放置架上,且正對放置層的通孔,通過升降裝置的頂軸提升并作用于活塞本體的封閉側,當升降裝置的頂軸提升至預設位置時,放置架的限位層與活塞的端蓋相抵接并達到對應的壓力值,進而此時抵消了來自活塞內部的碟形簧的壓力對調節螺釘產生的摩擦力,進而能夠方便的將調節螺栓取出,然后將升降裝置下降,使活塞的封閉端落至放置層上,此時再將端蓋取下,對活塞內部的碟形簧加潤滑脂或更換碟形簧。作業完畢后,采用相同的方法,通過升降裝置提升,壓縮活塞,使得調節螺釘可以連接到到活塞內部的內螺紋上,即可輕松將調節螺釘擰進活塞之中,省時省力。該裝置大大提高了礦井提升機盤形閘的活塞的拆裝的工作效率,同時能夠輕松通過調節螺釘將端蓋擰緊,避免了安全隱患。
附圖說明

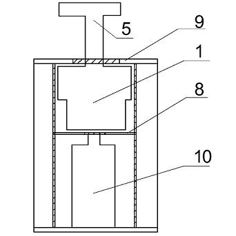
活塞1、本體2、端蓋3、碟形簧4、調節螺釘5、螺紋端6、限位端7;放置層8、限位層9、升降裝10、避讓槽11。
具體實施方式
本技術的核心是提供一種礦井提升機盤形閘活塞拆裝裝置,以提高工作效率,并避免安全隱患。為了使本領域的技術人員更好地理解本技術提供的技術方案,下面將結合附圖和具體實施例對本技術作進一步的詳細說明。
如圖1-4所示,本技術實施例提供的一種礦井提升機盤形閘活塞拆裝裝置,包括放置架和升降裝置10,其中,放置架包括間隔設置的限位層9和放置層8,限位層9上開設有凹口,放置層8上設置有通孔,升降裝置10的頂軸能夠穿過通孔。上述裝置使用過程中。將活塞1放置在放置層8上,此時限位層上開設的凹口對應活塞的調節螺釘,形成避讓,進而活塞能夠順利放入放置架。升降裝置的頂軸穿過放置層上的通孔,并作用于活塞本體的封閉側,使得活塞本體朝向活塞的端蓋移動,當升降裝置10的頂軸提升至預設位置時,活塞內的碟形簧開始壓縮,限位層9與活塞1的端蓋3相抵接并至少達到對應的壓力值。這里需要說明的是,本領域技術人員都應該能夠理解的是,為了使得升降裝置的頂軸能夠提升活塞,當活塞放置在放置層8時,活塞距離限位層9應該預留了足夠的提升空間,也即放置層8與限位層9之間具有足夠的間距,以便活塞的放入和活塞內碟形簧壓縮到位,取出調節螺釘后,隨升降裝置的下降碟形簧正常伸長后,端蓋和蝶形簧的取出維護。
相比于背景技術介紹內容,上述礦井提升機盤形閘活塞拆裝裝置,通過將預拆裝的活塞放置在放置架上,且正對放置層的通孔,通過升降裝置的頂軸提升并作用于活塞本體的封閉側,當升降裝置的頂軸提升至預設位置時,放置架的限位層與活塞的端蓋相抵接并達到對應的壓力值,進而此時抵消了來自活塞內部的碟形簧的壓力對調節螺釘產生的摩擦力,進而能夠方便的將調節螺栓取出,然后將升降裝置下降,使活塞的封閉端落至放置層上,此時再將端蓋取下,對活塞內部的碟形簧加潤滑脂或更換碟形簧。作業完畢后,采用相同的方法,通過升降裝置提升,壓縮活塞,使得調節螺釘可以連接到到活塞內部的內螺紋上,即可輕松將調節螺釘擰進活塞之中,省時省力。該裝置大大提高了礦井提升機盤形閘的活塞的拆裝的工作效率,同時能夠輕松通過調節螺釘將端蓋擰緊,避免了安全隱患。
在一些具體的實施方案中,上述升降裝置10可以是千斤頂,也可以是本領域技術人員常用的其他升降裝置,比如具有升降功能的絲杠機構等。并且該千斤頂優選為10噸液壓千斤頂,比如10噸的油壓千斤頂,當然可以理解的是也可以是上述10噸僅僅是本技術實施例的優選地舉例,也可以是根據實際生產需求選擇其他噸位,并且上述液壓千斤頂也是僅是本技術實施例的優選方式,也可以是機械千斤頂,比如,螺桿千斤頂。本技術實施例優選機械千斤頂的的伸縮桿行程為10cm-25cm。當然也可以根據實際需求,選擇其他行程的機械千斤頂。
在一些更具體的實施方案中,上述放置架的骨架優選為由槽鋼焊接而成的骨架。當然可以理解的是也可以是選擇方管焊接或其他鋼材料焊接而成,只要能夠達到對應的強度即可。
在進一步的實施方案中,上述放置架的放置層8和限位層9均為16mm的鋼板。當然可以理解的是實際生產過程中,還可以根據實際生產需求,選擇其他規格的鋼板。
更進一步的實施方案中,為了使得該拆裝裝置移動方便,在放置架的底部還可以設置滾輪。并且滾輪的數量優選為4個,這樣放置架放置更加穩固。
并且本技術的實施方案中,優選位于放置架的前側的滾輪為萬向輪,位于放置架的后側的滾輪為定向輪。這樣在該拆裝裝置移動時更加容易改變移動方向,進一步使得移動更加便捷,當然也可以是前后側的滾輪均為萬向輪或定向輪。
以上對本技術所提供的礦井提升機盤形閘活塞拆裝裝置進行了詳細介紹。需要說明的是,本說明書中的各個實施例均采用遞進的方式描述,每個實施例重點說明的都是與其他實施例的不同之處,各個實施例之間相同相似的部分互相參見即可。
還需要說明的是,在本文中,諸如第一和第二等之類的關系術語僅僅用來將一個實體或者操作與另一個實體或操作區分開來,而不一定要求或者暗示這些實體或操作之間存在任何這種實際的關系或者順序。而且,術語“包括”、“包含”或者其任何其他變體意在涵蓋非排他性的包含,從而使得包括一系列要素的物品或者設備不僅包括那些要素,而且還包括沒有明確列出的其他要素,或者是還包括為這種物品或者設備所固有的要素。在沒有更多限制的情況下,由語句“包括一個……”限定的要素,并不排除在包括上述要素的物品或者設備中還存在另外的相同要素。
本文中應用了具體個例對本技術的原理及實施方式進行了闡述,以上實施例的說明只是用于幫助理解本技術的核心思想。應當指出,對于本技術領域的普通技術人員來說,在不脫離本技術原理的前提下,還可以對本技術進行若干改進和修飾,這些改進和修飾也落入本技術實用要求的保護范圍內。
技術特征:
1.一種礦井提升機盤形閘活塞拆裝裝置,其特征在于,包括放置架和升降裝置(10),所述放置架包括間隔設置的限位層(9)和放置層(8),所述限位層(9)上開設有凹口,所述放置層(8)上設置有通孔,所述升降裝置(10)的頂軸能夠穿過所述通孔。
2.如實用要求1所述的礦井提升機盤形閘活塞拆裝裝置,其特征在于,所述升降裝置(10)為千斤頂。
3.如實用要求2所述的礦井提升機盤形閘活塞拆裝裝置,其特征在于,所述千斤頂為10噸液壓千斤頂。
4.如實用要求2所述的礦井提升機盤形閘活塞拆裝裝置,其特征在于,所述千斤頂為機械千斤頂。
5.如實用要求4所述的礦井提升機盤形閘活塞拆裝裝置,其特征在于,所述機械千斤頂的伸縮桿行程為10cm-25cm。
6.如實用要求1所述的礦井提升機盤形閘活塞拆裝裝置,其特征在于,所述放置架的骨架為由槽鋼焊接而成的骨架。
7.如實用要求1所述的礦井提升機盤形閘活塞拆裝裝置,其特征在于,所述放置架的放置層(8)和限位層(9)均為16mm的鋼板。
8.如實用要求1所述的礦井提升機盤形閘活塞拆裝裝置,其特征在于,所述放置架的底部設置有滾輪。
9.如實用要求8所述的礦井提升機盤形閘活塞拆裝裝置,其特征在于,所述滾輪的數量為4個。
10.如實用要求9所述的礦井提升機盤形閘活塞拆裝裝置,其特征在于,位于所述放置架的前側的所述滾輪為萬向輪,位于所述放置架的后側的所述滾輪為定向輪。
技術總結
本技術公開了一種礦井提升機盤形閘活塞拆裝裝置,包括放置架和升降裝置,所述放置架包括間隔設置的限位層和放置層,所述限位層上開設有凹口,所述放置層上設置有通孔,所述升降裝置的頂軸能夠穿過所述通孔。上述拆裝裝置,大大提高了礦井提升機盤形閘的活塞的拆裝的工作效率,同時能夠輕松通過調節螺釘將端蓋擰緊,避免了安全隱患。
版權說明:如非注明,本站文章均為新鄉天太斗式提升機廠家原創,轉載請注明出處和附帶礦井提升機盤形閘活塞拆裝裝置設計技術圖解本文鏈接。
下一篇:斗式提升機堵料報警裝置技術要求

