產品導航
Product navigation
當前位置:首頁 > 技術資料 > 斗式提升機堵料檢測裝置工作原理技術總結
斗式提升機堵料檢測裝置工作原理技術總結
發布人:新鄉天太斗式提升機廠家 發布時間:2019-10-25
背景技術:
本技術涉及斗式提升機,具體涉及用于檢測提升機是否堵料的斗式提升機堵料檢測裝置,該機是常用的一種用于將固體物料從低處往高處提升運送的設備。目前所使用的斗式提升機的結構為:包括提升機殼體,在提升機殼體的上部中活動支承有由電機驅動轉動的主動輪,在提升機殼體的下部中活動支承有從動輪,在主動輪與從動輪之間繞設有提升輸送帶,在提升輸送帶的外側輸送面上沿長度方向均勻間隔設置有若干提料斗,在主動輪處的提升機殼體上設置有出料口,在從動輪處的提升機殼體上設置有進料口。上述斗式提升機的輸送工作原理是:提料斗承接從進料口輸進的固體物料后,提料斗會隨著提升輸送帶提升到頂部,并繞過主動輪后向下翻轉,從而將提料斗中的固體物料從出料口拋出,空的提料斗又隨提升輸送帶向下移動至進料口處繼續承接固體物料,承接固體物料后再隨提升輸送帶向上提升到頂部,并繞過主動輪后向下翻轉,再次將提料斗中的固體物料從出料口拋出,重復提料斗的動作,實現對固體物料的連續提升運送。在斗式提升機運行過程中,斗式提升機極易因固體物料的輸送特點或提料斗掉斗或進料不均勻或停機時逆止器沒有防止倒轉等原因而發生堵料,堵料如果不能及時發現,將會造成設備的嚴重損壞。目前一般采用觀察斗式提升機中電機的電流表指示是否有異常波動來判斷斗式提升機內是否發生堵料,但是當電機本身發生故障時,電機的電流表指示也會異常波動,導致這種通過觀察電機的電流表指示是否有異常波動的堵料檢測方式不能準確判斷斗式提升機內是否發生堵料。
技術實現要素:
本技術的目的是提供一種能準確判斷斗式提升機內是否發生堵料的斗式提升機堵料檢測裝置。為實現上述目的,本技術采用了如下技術方案:所述的斗式提升機堵料檢測裝置,在提升機殼體的下部側壁上設置有檢測孔,在檢測孔處的提升機殼體外壁上設置有檢測箱,在檢測孔正對著的檢測箱側壁上設置有與檢測孔相通的檢測口,在檢測口處設置有密封覆蓋檢測口的柔性耐磨皮,在檢測箱中設置有檢測報警接近開關,在柔性耐磨皮內側的檢測箱檢測口處鉸接有能與檢測報警接近開關相配合的檢測板,在檢測箱中還設置有用以支撐檢測板的彈性支撐件,當檢測板不受外力作用時,檢測板在彈性支撐件的作用下不會向內翻轉觸碰檢測報警接近開關,當柔性耐磨皮因堵料擠壓而向檢測箱內部形變時,柔性耐磨皮會同步推動檢測板克服彈性支撐件的彈力向內翻轉,使檢測板觸碰檢測報警接近開關。
進一步地,前述的斗式提升機堵料檢測裝置,其中:在檢測箱中從檢測箱檢測口一側向內依次間隔設置有第一檢測報警接近開關與第二檢測報警接近開關,當檢測板不受外力作用時,檢測板在彈性支撐件的作用下不會向內翻轉觸碰第一檢測報警接近開關,當柔性耐磨皮因堵料擠壓而向檢測箱內部形變時,柔性耐磨皮會同步推動檢測板克服彈性支撐件的彈力向內翻轉,使檢測板觸碰第一檢測報警接近開關或第二檢測報警接近開關。
進一步地,前述的斗式提升機堵料檢測裝置,其中:檢測板通過將其上端鉸接在檢測箱的檢測口處而鉸接于檢測箱中。
進一步地,前述的斗式提升機堵料檢測裝置,其中:在檢測板的內壁上設置有用以增加檢測板重量的配重塊。
進一步地,前述的斗式提升機堵料檢測裝置,其中:所述的彈性支撐件為彈簧管。
進一步地,前述的斗式提升機堵料檢測裝置,其中:檢測箱與提升機殼體的連接方式為:檢測箱的一端鉸接在提升機殼體的下部側壁,另一端通過鎖緊螺母與提升機殼體的下部側壁相鎖緊固定。
通過上述技術方案的實施,本技術具有能準確判斷斗式提升機內是否發生堵料,并能準確判斷提升機內發生的是輕堵料還是重堵料的優點。
附圖說明

具體實施方式
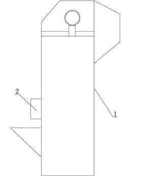
下面結合附圖和具體實施例對本技術作進一步說明。如圖1、圖2、圖3所示,所述的斗式提升機堵料檢測裝置,在提升機殼體1的下部側壁上設置有檢測孔,在檢測孔處的提升機殼體外壁上設置有檢測箱2,在檢測孔正對著的檢測箱2側壁上設置有與檢測孔相通的檢測口,在檢測口處設置有密封覆蓋檢測口的柔性耐磨皮3,在檢測箱2中設置有檢測報警接近開關,在柔性耐磨皮3內側的檢測箱2檢測口處鉸接有能與檢測報警接近開關相配合的檢測板4,在檢測箱2中還設置有用以支撐檢測板4的彈性支撐件5,當檢測板4不受外力作用時,檢測板4在彈性支撐件5的作用下不會向內翻轉觸碰檢測報警接近開關,當柔性耐磨皮3因堵料擠壓而向檢測箱2內部形變時,柔性耐磨皮3會同步推動檢測板4克服彈性支撐件5的彈力向內翻轉,使檢測板4觸碰檢測報警接近開關;在本實施例中,在檢測箱2中從檢測箱2檢測口一側向內依次間隔設置有第一檢測報警接近開關6與第二檢測報警接近開關7,當檢測板4不受外力作用時,檢測板4在彈性支撐件5的作用下不會向內翻轉觸碰第一檢測報警接近開關6,當柔性耐磨皮3因堵料擠壓而向檢測箱2內部形變時,柔性耐磨皮3會同步推動檢測板4克服彈性支撐件5的彈力向內翻轉,使檢測板4觸碰第一檢測報警接近開關6或第二檢測報警接近開關7,當檢測板4向內翻轉觸碰第一檢測報警接近開關6時,第一檢測報警接近開關6會報警提示斗式提升機內部此時處于輕堵料狀態,當檢測板4繼續向內翻轉至觸碰第二檢測報警接近開關7時,第二檢測報警接近開關7會報警提示斗式提升機內部此時處于重堵料狀態,這樣工作人員就能更準確及時地了解提升機內部的堵料情況,從而能及時對斗式提升機進行檢修,有效防止斗式提升機因堵料發現不及時而損壞情況的發生,大大提高了斗式提升機的使用壽命;在本實施例中,檢測板4通過將其上端鉸接在檢測箱的檢測口處而鉸接于檢測箱2中,這樣當檢測板4不受外力作用時,檢測板4在自身重力作用下不會向內翻轉,進一步提高了檢測板4的工作穩定性;在本實施例中,在檢測板4的內壁上設置有用以增加檢測板4重量的配重塊8,通過增加檢測板4的重量,能進一步確保在檢測板4不受外力作用時,檢測板4不會向內翻轉,進一步提高了檢測板4的工作穩定性;在本實施例中,所述的彈性支撐件5為彈簧管,這種彈簧管造價相對低廉,降低了企業使用成本;在本實施例中,檢測箱2與提升機殼體1的連接方式為:檢測箱2的一端通過銷軸9鉸接在提升機殼體1的下部側壁,另一端通過鎖緊螺母10與提升機殼體1的下部側壁相鎖緊固定,上述連接方式結構簡單,安裝維修方便;

本技術的工作原理如下:
當斗式提升機內部沒有發生堵料時,柔性耐磨皮3不會向檢測箱2內部形變,此時檢測板4在自身重力及彈簧管的支撐下,不會向內翻轉觸碰第一檢測報警接近開關6;當斗式提升機內部發生堵料時,堵料會擠壓柔性耐磨皮3而使柔性耐磨皮3向檢測箱2內部形變,向內形變的柔性耐磨皮3會同步推動檢測板4克服彈簧管的彈力向內翻轉,當檢測板4向內翻轉觸碰第一檢測報警接近開關6時,第一檢測報警接近開關6會報警提示斗式提升機內部此時處于輕堵料狀態,隨著檢測板4繼續向內翻轉,檢測板4會接著觸碰第二檢測報警接近開關7,此時第二檢測報警接近開關7會報警提示斗式提升機內部處于重堵料狀態,這樣工作人員就能更準確及時地了解提升機內部的堵料情況,從而能及時對斗式提升機進行檢修,有效防止斗式提升機因堵料發現不及時而損壞情況的發生,大大提高了斗式提升機的使用壽命。
技術特征:
1.斗式提升機堵料檢測裝置,其特征在于:在提升機殼體的下部側壁上設置有檢測孔,在檢測孔處的提升機殼體外壁上設置有檢測箱,在檢測孔正對著的檢測箱側壁上設置有與檢測孔相通的檢測口,在檢測口處設置有密封覆蓋檢測口的柔性耐磨皮,在檢測箱中設置有檢測報警接近開關,在柔性耐磨皮內側的檢測箱檢測口處鉸接有能與檢測報警接近開關相配合的檢測板,在檢測箱中還設置有用以支撐檢測板的彈性支撐件,當檢測板不受外力作用時,檢測板在彈性支撐件的作用下不會向內翻轉觸碰檢測報警接近開關,當柔性耐磨皮因堵料擠壓而向檢測箱內部形變時,柔性耐磨皮會同步推動檢測板克服彈性支撐件的彈力向內翻轉,使檢測板觸碰檢測報警接近開關,在檢測箱中從檢測箱檢測口一側向內依次間隔設置有第一檢測報警接近開關與第二檢測報警接近開關,當檢測板不受外力作用時,檢測板在彈性支撐件的作用下不會向內翻轉觸碰第一檢測報警接近開關,當柔性耐磨皮因堵料擠壓而向檢測箱內部形變時,柔性耐磨皮會同步推動檢測板克服彈性支撐件的彈力向內翻轉,使檢測板觸碰第一檢測報警接近開關或第二檢測報警接近開關,檢測板通過將其上端鉸接在檢測箱的檢測口處而鉸接于檢測箱中,在檢測板的內壁上設置有用以增加檢測板重量的配重塊,所述的彈性支撐件為彈簧管。
2.根據實用要求1所述的斗式提升機堵料檢測裝置,其特征在于:檢測箱與提升機殼體的連接方式為:檢測箱的一端鉸接在提升機殼體的下部側壁,另一端通過鎖緊螺母與提升機殼體的下部側壁相鎖緊固定。
技術總結
本技術公開了斗式提升機堵料檢測裝置,在提升機殼體的下部側壁上設有檢測孔,在檢測孔處的提升機殼體外壁上設有檢測箱,在檢測孔正對著的檢測箱側壁上設有與檢測孔相通的檢測口,檢測口處設有密封覆蓋檢測口的柔性耐磨皮,檢測箱中設有檢測報警接近開關,在柔性耐磨皮內側的檢測箱檢測口處鉸接有能與檢測報警接近開關相配合的檢測板,檢測箱中設有彈性支撐件,當檢測板不受外力作用時,檢測板在彈性支撐件的作用下不會向內翻轉觸碰檢測報警接近開關,當柔性耐磨皮因堵料擠壓而向檢測箱內部形變時,柔性耐磨皮會推動檢測板觸碰檢測報警接近開關。本技術具有能準確判斷提升機內發生的是輕堵料還是重堵料的優點。
本文標簽: 斗式提升機 堵料檢測裝置 提升機堵料 斗式提升機堵料
版權說明:如非注明,本站文章均為新鄉天太斗式提升機廠家原創,轉載請注明出處和附帶斗式提升機堵料檢測裝置工作原理技術總結本文鏈接。
上一篇:斗式提升機電氣設備調試措施分析

