產品導航
Product navigation
當前位置:首頁 > 技術資料 > 斗式提升機密封裝置技術及圖片示意
斗式提升機密封裝置技術及圖片示意
發布人:新鄉天太斗式提升機廠家 發布時間:2019-09-12
技術背景:超細粉體物料垂直輸送通常采用斗式提升機(簡稱斗提機),由于超細粉體顆粒極細(細度達200目以上),因此對斗式提升機尾輪的密封性能要求較高,密封不好,直接影響到斗式提升機的輸送能力和效率,造成環境污染和產品的浪費。本技術屬于輸送設備領域,具體為一種斗式提升機密封裝置。
現有斗式提升機在用于超細粉體垂直輸送時,斗式提升機尾輪軸兩端支承結構由于密封結構過于簡單,采用常規氈圈密封,密封接觸面較小,易磨損失效,對超細粉體密封效果差,易造成超細粉體噴泄。斗式提升機工作時,作用在尾輪軸上的拉力是變化的,在該拉力與配重塊重力共同作用下,使得密封壓板隨尾輪軸上下浮動,安裝在軸承座上的密封板頂桿設計結構穩定性差而使其與密封壓板同時擺動,壓不住密封板,造成斗式提升機殼體與密封壓板的密封產生松動噴灰。密封氈與密封鋼板沒有粘結,密封板擺動時密封氈與密封鋼板松動脫落影響密封效果而噴灰,造成產品亂費、污染環境等。

技術實現要素:
本技術的目的是針對以上問題,提供一種斗式提升機密封裝置,密封效果好,密封填料便于更換,密封填料的密實度可調整。
為實現以上目的,本技術采用的技術方案是:一種斗式提升機密封裝置,包括斗式提升機殼體,所述斗式提升機殼體內水平設有尾輪軸,所述尾輪軸兩端設有相配合的軸承座,所述尾輪軸上靠近軸承座處設有軸密封裝置,所述軸密封裝置包括相配合的軸密封套壓蓋與軸密封套,所述軸密封套中設有軸密封套氈圈;所述斗式提升機殼體外側壁上相對位置設有密封板,所述密封板與軸密封裝置連接,所述密封板側面設有壓緊裝置;所述斗式提升機殼體外側壁相對位置豎直設有支撐板,所述支撐板上豎直方向設有導軌,所述軸承座端面設有鉸接的吊桿,所述吊桿一端設有中部鉸接的配重桿,所述配重桿一端與斗式提升機殼體側面鉸接一端設有相鉸接的配重連桿,所述配重連桿上設有配重塊。
進一步的,所述密封板,包括相互貼合的密封板基板和密封氈,所述密封板基板上均勻設置多個基板凸起,所述密封板基板中部設有基板安裝孔。
進一步的,所述基板凸起設為十字形,且設置數目至少為2個。
進一步的,所述壓緊裝置包括安裝座、頂桿、彈簧,所述安裝座與斗式提升機殼體連接,所述安裝座上設有可滑動的頂桿,所述彈簧與頂桿配合安裝。
進一步的,所述頂桿包括基桿和鋼球,所述基桿一端設有螺紋另一端設有凹槽,所述鋼球與凹槽相配合。
進一步的,所述軸承座內設有與尾輪軸相配合的軸承。

本技術的有益效果:
1、密封效果好,密封填料便于更換,密封填料的密實度可調整;
2、密封氈粘結在基板上時,基板上的十字凸起嵌入密封氈中,當基板隨尾輪軸上下浮動時,密封氈隨基板一起移動而不至分離或脫落影響密封效果;
3、壓緊裝置安裝在殼體支撐板上,不受尾輪軸上下浮動的影響,壓力穩定可調;
4、密封板始終受到壓緊裝置的穩定壓力保持密封板與殼體面的密封;
5、壓緊裝置分布于密封板靠周邊四角位置,使密封板壓力均勻分布不易變形,密封效果更好;
6、基桿末端安裝有鋼球,使密封板隨尾輪軸上下浮動時,減少基桿在密封板上滑動阻力,不會造成基桿受力大而變形,保持壓力的穩定。
附圖說明
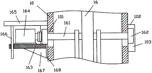
圖1為本技術主視示意圖。
圖中所述文字標注表示為:1、斗式提升機殼體;2、尾輪軸;3、軸承座;301、滑槽;4、軸密封裝置;401、軸密封套壓蓋;402、軸密封套氈圈;403、軸密封套;5、密封板;501、基板;5011、基板凸起;5012、基板安裝孔;502、密封氈;6、壓緊裝置;601、安裝座;602、頂桿;6021、基桿;6022、鋼球;603、彈簧;7、支撐板;8、導軌;9、吊桿;10、配重桿;11、配重連桿;12、配重塊。
具體實施方式
為了使本領域技術人員更好地理解本技術的技術方案,下面結合附圖對本技術進行詳細描述,本部分的描述僅是示范性和解釋性,不應對本技術的保護范圍有任何的限制作用。
如圖1-6所示,本技術的具體結構為:一種斗式提升機密封裝置,包括斗式提升機殼體1,所述斗式提升機殼體1內水平設有尾輪軸2,所述尾輪軸2兩端設有相配合的軸承座3,所述尾輪軸2上靠近軸承座3處設有軸密封裝置4,所述軸密封裝置4包括相配合的軸密封套壓蓋401與軸密封套403,所述軸密封套403中設有軸密封套氈圈402;所述斗式提升機殼體1外側壁上相對位置設有密封板5,所述密封板5與軸密封裝置4連接,用來密封從尾輪軸2與斗式提升機殼體1之間開口區域,所述密封板5側面設有壓緊裝置6,保證密封板5與殼體的密封性;所述斗式提升機殼體1外側壁相對位置豎直設有支撐板7,所述支撐板7中部豎直方向設有導軌8,確保軸承座3只能在豎直方向上滑動;所述軸承座3端面設有鉸接的吊桿9,所述吊桿9一端設有中部鉸接的配重桿10,所述配重桿10一端與斗式提升機殼體1側面鉸接一端設有相鉸接的配重連桿11,所述配重連桿11上設有配重塊12。
優選的,所述密封板5,包括相互貼合的密封板基板501和密封氈502,所述密封板基板501上均勻設置多個基板凸起5011,當密封板基板501與密封氈502貼合時,基板凸起5011嵌入到密封氈502中,保證密封板基板501與密封氈502不會產生相對滑動,所述密封板基板501中部設有基板安裝孔5012,該孔與軸密封套壓蓋401配合安裝。
優選的,所述基板凸起5011設為十字形,且設置數目至少為2個。
優選的,所述壓緊裝置6包括安裝座601、頂桿602、彈簧603,所述安裝座601與斗式提升機殼體1連接,所述安裝座601上設有通孔,該通孔中設有可滑動的頂桿602,所述彈簧603與頂桿602配合安裝。
優選的,所述頂桿602包括基桿6021和鋼球6022,所述基桿6021一端設有螺紋另一端設有凹槽,所述鋼球6022與凹槽相配合,鋼球6022減小了基桿6021與密封板5相對滑動時的阻力。
優選的,所述軸承座3內設有與尾輪軸2相配合的軸承。

具體使用時,工作原理如下:
尾輪軸2上采用面密封,且密封面沿軸向長度一般取軸徑的1~1.5倍,即提高了軸密封套氈圈402的耐久性,同時也提高該處的密封性能,還能對軸密封套氈圈402的密實性通過軸密封套壓蓋401進行調整,延長密封氈使用壽命和效果。同時,該結構方便拆裝,便于對軸密封套氈圈402進行更換。
斗式提升機尾輪殼體1上的密封板5由相互貼合的密封板基板501和密封氈502實現,密封板5在隨尾輪軸2上下浮動時要有穩定的壓力施壓在密封板5上,通過分布密封板5外邊的壓緊裝置6,使密封板5均衡受力壓實密封氈502達到持續密封性能,其壓力由彈簧603提供,壓力由螺母調整。密封板基板501上設有基板凸起5011,當密封氈502粘貼在密封板基板501上后,密封板基板501上的基板凸起5011帶動密封氈502上下移動,使密封板5與斗式提升機殼體1持續處于全面積密封狀態。
此外,尾輪軸2工作時需要上下浮動,通過軸承座3上的滑槽301與導軌8的配合作用來保證尾輪軸2上下浮動,而不會橫向移動。
需要說明的是,在本文中,術語“包括”、“包含”或者其任何其他變體意在涵蓋非排他性的包含,從而使得包括一系列要素的過程、方法、物品或者設備不僅包括那些要素,而且還包括沒有明確列出的其他要素,或者是還包括為這種過程、方法、物品或者設備所固有的要素。
本文中應用了具體個例對本技術的原理及實施方式進行了闡述,以上實例的說明只是用于幫助理解本技術的方法及其核心思想。以上所述僅是本技術的優選實施方式,應當指出,由于文字表達的有限性,而客觀上存在無限的具體結構,對于本技術領域的普通技術人員來說,在不脫離本技術原理的前提下,還可以做出若干改進、潤飾或變化,也可以將上述技術特征以適當的方式進行組合;這些改進潤飾、變化或組合,或未經改進將技術的構思和技術方案直接應用于其它場合的,均應視為本技術的保護范圍。
1.一種斗式提升機密封裝置,包括斗式提升機殼體(1),其特征在于,所述斗式提升機殼體(1)內水平設有尾輪軸(2),所述尾輪軸(2)兩端設有相配合的軸承座(3),所述尾輪軸(2)上靠近軸承座(3)處設有軸密封裝置(4),所述軸密封裝置(4)包括相配合的軸密封套壓蓋(401)與軸密封套(403),所述軸密封套(403)中設有軸密封套氈圈(402);所述斗式提升機殼體(1)外側壁上相對位置設有密封板(5),所述密封板(5)與軸密封裝置(4)連接,所述密封板(5)側面設有壓緊裝置(6);所述斗式提升機殼體(1)外側壁相對位置豎直設有支撐板(7),所述支撐板(7)上豎直方向設有導軌(8),所述軸承座(3)端面設有鉸接的吊桿(9),所述吊桿(9)一端設有中部鉸接的配重桿(10),所述配重桿(10)一端與斗式提升機殼體(1)側面鉸接一端設有相鉸接的配重連桿(11),所述配重連桿(11)上設有配重塊(12)。
2.根據實用要求1所述的一種斗式提升機密封裝置,其特征在于,所述密封板(5),包括相互貼合的密封板基板(501)和密封氈(502),所述密封板基板(501)上均勻設置多個基板凸起(5011),所述密封板基板(501)中部設有基板安裝孔(5012)。
3.根據實用要求2所述的一種斗式提升機密封裝置,其特征在于,所述基板凸起(5011)設為十字形,且設置數目至少為2個。
4.根據實用要求1所述的一種斗式提升機密封裝置,其特征在于,所述壓緊裝置(6)包括安裝座(601)、頂桿(602)、彈簧(603),所述安裝座(601)與斗式提升機殼體(1)連接,所述安裝座(601)上設有可滑動的頂桿(602),所述彈簧(603)與頂桿(602)配合安裝。
5.根據實用要求4所述的一種斗式提升機密封裝置,其特征在于,所述頂桿(602)包括基桿(6021)和鋼球(6022),所述基桿(6021)一端設有螺紋另一端設有凹槽,所述鋼球(6022)與凹槽相配合。
6.根據實用要求1所述的一種斗式提升機密封裝置,其特征在于,所述軸承座(3)內設有與尾輪軸(2)相配合的軸承。
技術總結
本實用技術公布了一種斗式提升機密封裝置,包括斗式提升機殼體,所述斗式提升機殼體內水平設有尾輪軸,所述尾輪軸兩端設有相配合的軸承座,所述尾輪軸上靠近軸承座處設有軸密封裝置;所述斗式提升機殼體外側壁上相對位置設有密封板,所述密封板與軸密封裝置連接,所述密封板側面設有壓緊裝置;所述斗式提升機殼體外側壁相對位置豎直設有支撐板,所述支撐板上豎直方向設有導軌,所述軸承座端面設有鉸接的吊桿,所述吊桿一端設有中部鉸接的配重桿,所述配重桿一端與提升機殼體側面鉸接一端設有相鉸接的配重連桿,所述配重連桿上設有配重塊。本技術的目的是,提供一種斗式提升機密封裝置,密封效果好,密封填料便于更換,密封填料的密實度可調整。
本文標簽: 斗式提升機 密封裝置 斗式提升機密封裝置 提升機密封裝置 提升機圖片
版權說明:如非注明,本站文章均為新鄉天太斗式提升機廠家原創,轉載請注明出處和附帶斗式提升機密封裝置技術及圖片示意本文鏈接。

