產品導航
Product navigation
當前位置:首頁 > 技術資料 > 斗式提升機料斗皮帶拉緊裝置制作方法圖解
斗式提升機料斗皮帶拉緊裝置制作方法圖解
發布人:新鄉天太斗式提升機廠家 發布時間:2019-09-12
背景技術:現在的飼料企業自動化程度越來越高,物料的輸送大部分采用斗式提升機垂直提升運輸。隨著斗式提升機運行時間增加,料斗帶跑偏、磨損、磨斷、磨松等問題陸續出現,為了減少生產停機時間,需要定期對料斗帶進行維護。當下帶松、帶斷的維修方式為:通過斷開畚斗帶連接扣,將料斗帶抽出,使用手拉葫蘆吊裝料斗帶兩端,然后人工將畚斗帶拉緊重合10公分左右,在重合部分的中心鉆孔,用螺定將重合部分重新固定。這樣的維修方式操作復雜,耗用時間長,需要多人參與配合工作才能完成。

技術實現要素:
針對現有技術的不足,本技術提供一種斗式提升機料斗帶拉緊裝置,以解決現有技術中存在的問題。
斗式提升機料斗帶拉緊裝置,包括兩個O型螺母,所述O型螺母為中空的兩端帶螺紋的圓柱狀,所述O型螺母兩端的螺紋一端為左旋另一端為右旋;所述O型螺母的每一端分別連接有一個螺桿,所述螺桿的另一端與連接板連接,位于O型螺母同端側的兩個連接板與一個夾板的左右兩端連接,所述夾板兩個為一組,兩個夾板組合起來將畚斗帶固定夾緊。
優選的,所述螺桿為四個,其中兩個為左旋螺紋,另外兩個為右旋螺紋。
優選的,所述連接板為U型板,底面帶孔。
優選的,所述U型板兩側的板上有通孔且在同一直線上。
優選的,所述夾板為L型板。
優選的,所述夾板上有若干通孔。
本技術所取得的有益效果是:
1、本裝置通過螺紋連接的方式實現畚斗帶的預緊,操作簡單,拉緊時間短,無需過多的人工參與即可完成操作,節省了人工成本和維修時間。
2、本裝置所有連接件均為常規加工件或標準件,互換性好,模塊化高,易于維護。
附圖說明
為了更清楚地說明本技術實施例或現有技術中的技術方案,下面將對實施例或現有技術描述中所需要使用的附圖作簡單地介紹,顯而易見地,下面描述中的附圖是本技術的一些實施例,對于本領域普通技術人員來講,在不付出創造性勞動的前提下,還可以根據這些附圖獲得其他的附圖。
斗式提升機料斗帶拉緊裝置
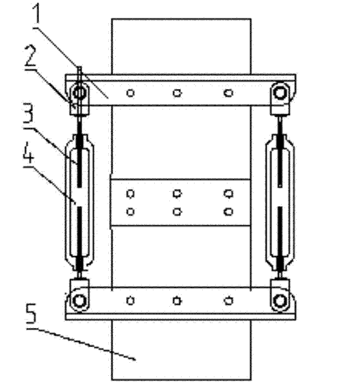
圖1為畚斗帶拉緊裝置初始狀態示意圖;
圖2為畚斗帶拉緊裝置工作狀態示意圖;

圖中:1-夾板,2-連接板,3-螺桿,4-O型螺母,5-料斗帶。
具體實施方式
應該指出,以下詳細說明都是例示性的,旨在對本申請提供進一步的說明。除非另有指明,本文使用的所有技術和科學術語具有與本申請所屬技術領域的普通技術人員通常理解的相同含義。
需要注意的是,這里所使用的術語僅是為了描述具體實施方式,而非意圖限制根據本申請的示例性實施方式。如在這里所使用的,除非上下文另外明確指出,否則單數形式也意圖包括復數形式,此外,還應當理解的是,當在本說明書中使用術語“包含”和/或“包括”時,其指明存在特征、步驟、操作、器件、組件和/或它們的組合。
為實現上述目的,本技術的具體技術方案如下:
一種斗式提升機料斗帶拉緊裝置,包括左右對稱布置的兩個O型螺母4,O型螺母4為中空的兩端帶螺紋的圓柱狀,所述O型螺母4兩端的螺紋一端為左旋另一端為右旋;所述O型螺母4的每一端分別連接有一個螺桿3,螺桿3上螺紋的旋向與O型螺母4上螺紋的旋向對應,即其中兩個螺桿3為左旋螺紋,另外兩個螺桿3為右旋螺紋。所述螺桿3的另一端與連接板2連接,連接板2為U型帶孔的結構,位于O型螺母5同端側的兩個連接板2分別連接一組夾板1的左端和右端,所述夾板1兩個為一組,分布在畚斗帶的兩側將畚斗帶夾緊。
本裝置的工作過程是:當畚斗帶過松或畚斗帶斷裂時,需要把畚斗帶重新拉緊連接固定,使用夾板1將畚斗帶5的兩頭分別夾緊并用螺栓固定,然后將連接板2插入夾板1兩側,連接板2的中間孔與夾板1兩邊孔重合,使用固定銷固定,將螺桿3與連接板2連接好,將四根螺桿3分別從兩個O型螺母4的兩端旋入,通過旋轉O型螺母4,螺桿3逐漸被選入O型螺母4的中間孔中,畚斗帶逐漸被拉緊,當到達一定漲緊度時,停止旋轉。人工將畚斗帶重合并鉆孔,使用螺桿固定,即可完成畚斗帶拉緊。
上述雖然結合附圖對本發明的具體實施方式進行了描述,但并非對本發明保護范圍的限制,所屬領域技術人員應該明白,在本發明的技術方案的基礎上,本領域技術人員不需要付出創造性勞動即可做出的各種修改或變形仍在本發明的保護范圍以內。
技術特征:
1.斗式提升機料斗帶拉緊裝置,其特征在于,包括兩個O型螺母,所述O型螺母為中空的兩端帶螺紋的圓柱狀,所述O型螺母兩端的螺紋一端為左旋另一端為右旋;所述O型螺母的每一端分別連接有一個螺桿,所述螺桿的另一端與連接板連接;位于O型螺母同端側的兩個連接板與一個夾板的左右兩端連接,所述夾板兩個為一組,兩個夾板組合起來將畚斗帶固定夾緊。
2.如實用要求1所述的斗式提升機料斗帶拉緊裝置,其特征在于,所述螺桿為四個,其中兩個為左旋螺紋,另外兩個為右旋螺紋。
3.如實用要求1所述的斗式提升機料斗帶拉緊裝置,其特征在于,所述連接板為U型板,底面帶孔。
4.如實用要求3所述的斗式提升機料斗帶拉緊裝置,其特征在于,所述U型板兩側的板上有通孔且在同一直線上。
5.如實用要求1所述的斗式提升機料斗帶拉緊裝置,其特征在于,所述夾板為L型板。
6.如實用要求1所述的斗式提升機料斗帶拉緊裝置,其特征在于,所述夾板上有若干通孔。
技術總結
斗式提升機料斗帶拉緊裝置,包括兩個O型螺母,所述O型螺母為中空的兩端帶螺紋的圓柱狀,所述O型螺母兩端的螺紋一端為左旋另一端為右旋;所述O型螺母的每一端分別連接有一個螺桿,所述螺桿的另一端與連接板連接;位于O型螺母同端側的兩個連接板與一個夾板的左右兩端連接,所述夾板兩個為一組,兩個夾板組合起來將畚斗帶固定夾緊。本裝置通過螺紋連接的方式實現提升機畚斗帶的預緊,操作簡單,拉緊時間短,無需過多的人工參與即可完成操作,節省了人工成本和維修時間。
版權說明:如非注明,本站文章均為新鄉天太斗式提升機廠家原創,轉載請注明出處和附帶斗式提升機料斗皮帶拉緊裝置制作方法圖解本文鏈接。
下一篇:斗式提升機密封裝置技術及圖片示意

